在我的日常生活中,很多人都听说过地基和基础,那么地基和基础的区别有哪些呢?地基和基础和的作用是什么?下面和暖气金旗舰小编一起来了解一下吧。
暖气讲解地基和基础区别有哪些?地基和基础和作用是什么?

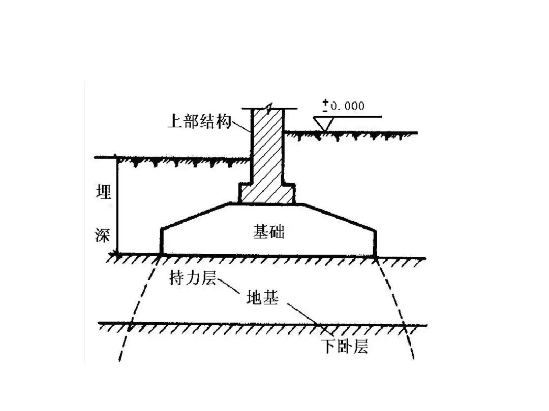
暖气讲解地基和基础的区别有哪些
1、地基是承载着建筑的所有重量包括基础重量,而基础属于建筑承载的一部分,通常位于地面以下的承载。
2、地基一般由泥土石块一些材料组成的,而基础一般都是由钢筋混凝土浇灌而成的,它作为一个沉重的构建,而地基作为沉重的主件。
3、地基支撑着基础,它能够承载着土壤为依托,将基础的力分散到各个地方,而基础是支撑着构建物,基本上是负责承载地面上的构建物,同时也将地面下的承载物做到一个均匀传输的力道。
4、地基主要承载的是土体,而基础承载的是建筑的其他一些地基以下的构建沉重。
暖气讲解地基和基础和的作用是什么
1、地基具有很大的支撑承受力,它可以将所有的力往外扩散到每一个基础上面,然后地底下的力将由基础进行支撑,地基和基础对于山区丘陵以及沙滩等地方都有着重要的建筑作用。
2、在工业建筑,钢结构建筑以及厂房建筑和运输使用过程中,如果使用地基和基础做成的路面,那么地面的承载力也会非常的好,雨水的天气或者是炎热的天气,都不会受到热胀冷缩的影响,地基是比较稳的。
关于地基和基础的区别有哪些,地基和基础和的作用是什么就介绍到这里了。




铜铝复合暖气片
钢制暖气片
卫浴暖气片
京公网安备 11011502003490号


